全国空降快餐QQ联系方式,南京喝茶大活场子,品茶修车论坛最新
Toggle navigation
重庆川流机械有限公司
网站首页
公司简介
企业文化
资质证书
公司业绩
汇款信息
重点客户
产品展示
润滑系统
润滑设备配件
新闻动态
应用案例
文档中心
联系我们
欢迎光临
重庆川流机械有限公司
官网!您的肯定是我奋斗的目标!
欢迎光临
重庆川流机械有限公司
官网!
新闻动态
润滑常识
公司动态
机械新闻
设备润滑之油环与油链润滑
2011-03-08 08:49
关键词:设备润滑,油环,油链润滑
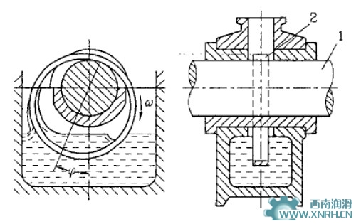
依靠套在轴上的油环或油链将油从油池中带到润滑部位。
如图所示,套在轴1上的油环2下部在油池中,当轴旋转时,靠摩擦力带动油环转动,从而把油带入轴承中进行润滑。
上一篇:设备润滑方式之飞溅润滑
下一篇:机床润滑系统常见故障维修
为您推荐
智能集中润滑系统输送用的润滑脂如何选
国内润滑技术公司的诞生
先进的供油系统:喷射式集中润滑
搞好矿山设备润滑的紧迫性
油气润滑和油雾润滑的比较
相关产品
主站蜘蛛池模板:
辉县市
|
茌平县
|
潞城市
|
四会市
|
丹江口市
|
大化
|
东港市
|
阳谷县
|
镶黄旗
|
平乡县
|
留坝县
|
安福县
|
彰化县
|
龙岩市
|
逊克县
|
沈丘县
|
太康县
|
沁源县
|
平湖市
|
忻州市
|
宁陕县
|
西吉县
|
舒兰市
|
双牌县
|
怀柔区
|
新和县
|
乐清市
|
会理县
|
西乌珠穆沁旗
|
张家川
|
阜阳市
|
康马县
|
汕尾市
|
陕西省
|
乐业县
|
荥经县
|
哈巴河县
|
扎兰屯市
|
西华县
|
广安市
|
林州市
|